SP-SMC短信中心介紹
2004/04/20
1.簡介

RL_API包含五種消息包:
|
消息包類型 |
說明 |
|
RP_MO_DATA |
傳送從手機到SC的短信/命令 |
|
RP_MT_DATA |
傳送從SC到手機的短信/狀態(tài)報告 |
|
RP_ACK |
確認應答 |
|
RP_ERROR |
錯誤應答 |
|
RP_ALERT_SC |
通知SC手機用戶可達或內存已經可用 |
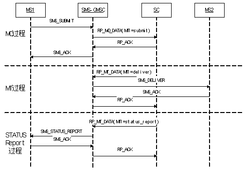
RP_MO_DATA
|
參數名 |
類型 |
必備 |
說明 |
|
OA |
S |
M |
Originating Address |
|
DA |
S |
M |
Destination Address |
|
MTI |
2b |
M |
Message Type Indicator |
|
RD |
B |
C |
Reject Duplicates |
|
RP |
B |
C |
Reply Path |
|
SRR |
B |
M |
Status Report Request |
|
MR |
O |
M |
Message Reference |
|
PID |
O |
M |
Protocol Identifier |
|
VP |
S |
C |
Valid Period |
|
UD |
S |
C |
User Data |
|
CT |
O |
C |
Command Type |
|
MN |
O |
C |
Message Number |
|
CD |
S |
C |
Command Data |
RP_MT_DATA
|
參數名 |
類型 |
必備 |
說明 |
|
PRI |
B |
M |
Priority Request |
|
MMS |
B |
M |
More Message To Send |
|
OA |
S |
M |
Originating Address |
|
DA |
S |
M |
Destination Address |
|
MTI |
2b |
M |
Message Type Indicator |
|
RP |
b |
C |
Reply Path |
|
SRI |
b |
C |
Status Report Indicator |
|
PID |
o |
M |
Protocol Identifier |
|
SCTS |
7o |
M |
Service Centre Time Stamp |
|
UD |
s |
M |
User Data |
|
SRQ |
b |
C |
Status Report Qualifier |
|
MR |
o |
C |
Message Reference |
|
RA |
s |
C |
Address of the Recipient of the previously submitted mo message |
|
DT |
s |
C |
Discharge Time |
|
ST |
o |
C |
Status |
|
參數名 |
類型 |
必備 |
說明 |
|
MTI |
2b |
M |
Message Type Indicator |
|
PID |
O |
M |
Protocol Identifier |
|
UD |
S |
M |
User Data |
|
SCTS |
s |
M |
Service Centre Time Stamp |
|
參數名 |
類型 |
必備 |
說明 |
|
MTI |
2b |
M |
Message Type Indicator |
|
FCS |
o |
M |
Failure Cause |
|
參數名 |
類型 |
必備 |
說明 |
|
msisdn |
s |
m |
|

斯普瑞特公司供稿 CTI論壇編輯